Böschungen mulchen

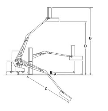
Es werden Böschungen und Hecken mit einem Spearhead Twiga 6000T in Frontanbau gemulcht bezw. abgestuft.

Reichweite: